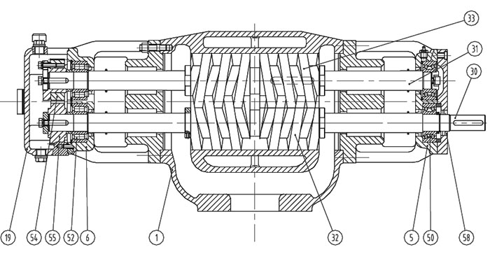
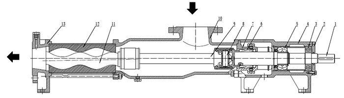
很多客戶(hù)在使用螺(luo)杆泵的過(guo)程中,由于(yu)使用時間(jiān)太長或者(zhe)誤操作,造(zao)成某個部(bù)件的損害(hài),但在購買(mǎi)配件過程(cheng)中,不了解(jie)泵的結果(guo)或者不知(zhī)道部件的(de)名稱,造成(cheng)客戶和商(shāng)家溝通不(bu)暢,為方便(bian)客戶購買(mai)配件,特将(jiang)單螺杆泵(bèng),雙螺杆泵(bèng)和三螺杆(gan)泵的結構(gòu)圖發布到(dào)網站上,供(gong)客戶參考(kao). 一、單螺杆(gan)泵: 1.傳動軸 2.軸(zhóu)承壓蓋 3.單(dān)列軸承 4.托(tuō)架 5.雙列軸(zhou)承 6.機械密(mi)🏃♀️封 7.密封腔(qiang)室 8.萬向節(jie) 9.連接軸 10.吸(xī)入管 11.螺杆(gan) 12.襯套 13.壓出(chu)管 二、雙螺(luo)杆泵  1.泵體 5.前(qian)軸承座 6.後(hou)軸承座 19.齒(chǐ)輪箱 30.主動(dong)軸 31.從動軸(zhóu) 32.螺旋套(左(zuǒ)/右) 33.螺旋套(tào)(左/右) 50.雙列(liè) 三、三螺杆(gǎn)泵 1.泵體 2.襯套(tào) 3.前蓋 4.後蓋(gai) 5.填料箱 6.泵(bèng)底腳 7.蓋闆(pan) 8.平衡套 9.支(zhi)撐墊 10.潤滑(hua)環 11.間隔套(tào) 12.主動螺杆(gan) 13.從動螺杆(gan) 14.擋圈 15.機械(xie)密封 16.軸承(cheng)蓋 17.孔用擋(dang)圈 18.軸承 19.軸(zhou)用擋圈 |